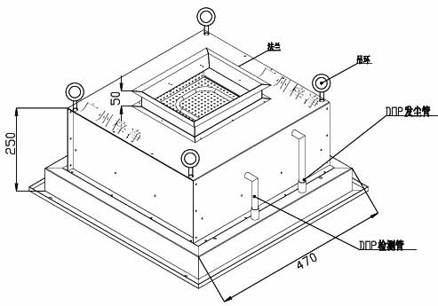
DOP液槽式高效送風口包含靜壓箱,散流板,液槽高效過濾器,和風閥。與風管的接口可為頂接或側接。
DOP液槽密封式高效送風口設計進一步增強其密封性和獨特性。配套使用我司自產的液槽高效過濾器的框架周圍有密封膠槽。
在安裝過程中,裝有密封膠槽與箱體四周的刀邊相嵌套形成氣密密封。且在更換過濾器的過程中密封膠不會黏著在箱體四周的刀邊上。

DOP液槽式高效送風口也叫DOP高效送風口、DOP高效過濾器送風口靜壓箱、統稱為DOP送風口,是高效過濾器應用于送風系統中的中間裝置,目的是為了空氣在通過高效過濾器之前獲得理想的靜壓,使高效過濾器得到合理使用。
其特點是結構緊湊、性能可靠、通風性強、安裝方便、維護簡單。
DOP、壓差檢測口,液槽、下調式風閥,旋流等各類擴散面板,一應俱全。
DOP液槽式高效送風口為千級、萬級、十萬級凈化空調系統較為理想的終端過濾裝置,是滿足凈化要求的關鍵設備,可廣泛于醫藥、衛生、電子、化工等行業的凈化空調系統。
DOP液槽式高效送風口產品特點:
1、整體密封設計,從設計上徹底杜絕上下流泄漏的可能。
2、冷軋鋼板焊接,并做打膠密封處理,箱體表面采用靜電噴塑處理,耐腐蝕性強。
3、特殊的風閥調節裝置,在風口底部可方便調節風量。
4、獨特的液槽密封方式,自帶PAO發塵口和濃度取樣口,完全滿足新版GMP-E規范要求。

DOP液槽式高效送風口優點:
1、液槽送風口采用刀邊型插入液槽過濾器的果凍膠內實現密封,避免了送風從安裝間隙處泄漏,可一次性的通過DOP發塵的完整性檢測;
2、液槽送風口上安裝兩個DOP接頭,一個發塵,一個檢測,方便用戶在過濾器出風面對單臺過濾器進行DOP發塵檢測和測試高效過濾器的壓差,快拆接頭下接的軟管通到箱體底,這樣可以保證過濾器上游發塵濃度均勻;
3、旋轉式壓塊,方便過濾器的安全、快速更換;液槽密封保證更換過濾器無泄漏;
4、液槽送風口跟普通送風口一樣,可以做GH320,GH484,GH610,GH630,GH726,GH915,GH968,GH1220,GH945,GH1260等標準型,同時尺寸也可以根據客戶的要求制作。
DOP液槽式高效送風口構成特點:
箱體材質:冷軋鋼板靜電噴塑,可以提供不銹鋼或者鋁板材質散流板:冷軋鋼板靜電噴塑,可以提供不銹鋼材質散流板類型:散流面板,可以提供圓孔板、漩渦擴散板或四路散射板配備過濾器:液槽型高效過濾器過濾器濾料:超細玻璃纖維過濾器效率:H13/H14/U15三種效率可供選擇液槽膠:聚亞氨酯膠密封膠:阻燃性聚氨酯膠分隔物:熱塑性膠護面網:噴塑鋼板網。

DOP液槽式高效送風口與高效過濾器尺寸參數:
常規頂接
DOP液槽式高效送風口箱體尺寸:375×680×250;液槽式高效過濾器尺寸:305×610×69 額定風量500m。
nDOP液槽式高效送風口箱體尺寸:680×680×250;液槽式高效過濾器尺寸:610×610×69 額定風量1000m。
DOP液槽式高效送風口箱體尺寸:680×985×250;液槽式高效過濾器尺寸:610×915×69 額定風量1500m。
DOP液槽式高效送風口箱體尺寸:680×1290×250;液槽式高效過濾器尺寸:610×1220×69 額定風量2000m。
常規側接
DOP液槽式高效送風口箱體尺寸:375×680×400;液槽式高效過濾器尺寸:305×610×69 額定風量500m。
DOP液槽式高效送風口箱體尺寸:680×680×400;液槽式高效過濾器尺寸:610×610×69 額定風量1000m。
DOP液槽式高效送風口箱體尺寸:680×985×400液槽式高效過濾器尺寸:610×915×69額定風量1500m3。
DOP液槽式高效送風口箱體尺寸:680×1290×450;液槽式高效過濾器尺寸:610×1220×69 額定風量2000m。
旋流頂接
DOP液槽式高效送風口箱體尺寸:520×520×250;液槽式高效過濾器尺寸:450×450×69 額定風量500m。
DOP液槽式高效送風口箱體尺寸:680×680×250;液槽式高效過濾器尺寸:610×610×69 額定風量1000m。
DOP液槽式高效送風口箱體尺寸:830×830×250;液槽式高效過濾器尺寸:762×762×69 額定風量1500m。
DOP液槽式高效送風口箱體尺寸:940×940×250;液槽式高效過濾器尺寸:870×870×69 額定風量2000m。
旋流側接
DOP液槽式高效送風口箱體尺寸:520×520×400;液槽式高效過濾器尺寸:450×450×69 額定風量500m3。
DOP液槽式高效送風口箱體尺寸:680×680×400;液槽式高效過濾器尺寸:610×610×69 額定風量1000m3。
DOP液槽式高效送風口箱體尺寸:830×830×400;液槽式高效過濾器尺寸:762×762×69 額定風量1500m3。
DOP液槽式高效送風口箱體尺寸:940×940×400;液槽式高效過濾器尺寸:870×870×69 額定風量2000m3。
注:DOP液槽式高效送風口接風管尺寸說明:
額定風量500m接風管尺寸200*200mm/?200
額定風量1000m接風管尺寸200*320mm/?300
額定風量1500m 接風管尺寸200*400mm/?350
額定風量2000m3/h 接風管尺寸250*500mm/?400

高效過濾器送風口四件套分類:
其實高效過濾器送風口也叫高效送風口,是潔凈室末端必不可少的凈化設備,按結構又劃分為多種不同類型的高效送風口。
高效送風口主要包含有四件套,梓凈牌空氣過濾器技術會同大家一起探討主要包括了哪四件套。
高效送風口是用以和新建千級、萬級、十萬級及各級潔凈室凈化工程的終端空氣過濾設備,滿足凈化要求的關鍵設備,可廣泛于醫藥、衛生、電子、化工等行業的凈化空調系統。高效送風口箱體表面為冷扎鋼板多層酸洗靜電噴涂而成,出風口均有良好的氣流,確保凈化的效果。高效送風口制作常用板材有冷軋鋼板(A3板)與不銹鋼板(SUS201,SUS304,SUS316等)。厚度一般為0.8~1.5mm。(高效送風口制作屬于薄板焊接,對焊工焊接技術及打磨技術要求較高。
高效送風口四件套主要為:
A、高效送風口靜壓箱體,材質有冷軋鋼板(A3板)與不銹鋼板。箱體是用作吊在天花上與四周庫板相結合密封,也是高效送風口四件套主體。
B、法蘭。法蘭是用來與送風機組風管接口連在一起,有側面連接或頂部接兩種可選法蘭。
C、高效過濾器是高效送風口新風送入起到過濾作用再送出,過濾效率為99.99-99.999%@0.3μm 。
D、出風口散流板是用作新風經過濾后從出風口散流板送向四周,出風口散流板沖孔時需選用先進的數控沖床,精確度在±0.01mm能保證散流板送風均勻。推薦閱讀:頂送風高效送風口??側送風高效送風口

售后服務時間要求:
不管是有償售后服務還是無償售后服務,客戶把設備需要售后的問題反饋到梓凈,在我司出方案,客戶確認方案后:
1、珠江三角洲、長江三角洲范圍內24小時內到達現場解決售后服務問題;
2、其他地區一般48小時內到達現場解決售后服務問題,特殊偏遠地區最長96小時內到達現場解決售后服務問題。
原文來源:廣州梓凈http://m.diao-zhuo.com/李工(139-2875-8616)
